Acoplador-D
Nombre del producto : Acoplador-D
Descripción del producto

Nombre del producto: Acoplador-D
Número de ítem: QCD
Material: SS304 / SS316
Rosca: NPT / BSP / BSPT
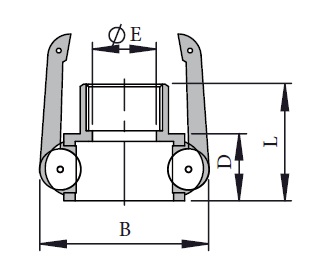
Página Catálogo-E :
Característica del producto
Diseñado para DIN2828 y Prueba al Estándar API598
| SIZE | 1/2" | 3/4" | 1" | 1.1/4" | 1.1/2" | 2" | 2.1/2" | 3" | 4" | 6" |
|---|---|---|---|---|---|---|---|---|---|---|
| B | 53.0 | 53.0 | 60.0 | 81.3 | 88.5 | 99.5 | 110.5 | 131.0 | 159.0 | 220.0 |
| D | 15.0 | 21.4 | 27.4 | 31.0 | 40.5 | 53.0 | 66.5 | 79.4 | 104.8 | 157.0 |
| E | 8.0 | 14.0 | 20.0 | 25.0 | 31.0 | 43.0 | 55.0 | 67.0 | 92.0 | 140.0 |
| L | 43.0 | 51.0 | 60.0 | 61.0 | 64.0 | 78.0 | 85.0 | 102.0 | 110.0 | 141.0 |










