Capa para polvo DC
Nombre del producto : Capa para polvo DC
Descripción del producto

Nombre del producto: Capa para polvo DC
Número de ítem: QCDC
Material: SS304 / SS316
Rosca: NPT / BSP / BSPT
Página Catálogo-E :
Característica del producto
Diseñado para DIN2828 y Prueba al Estándar API598
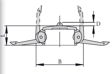
| SIZE | 1/2" | 3/4" | 1" | 1.1/4" | 1.1/2" | 2" | 2.1/2" | 3" | 4" | 6" |
|---|---|---|---|---|---|---|---|---|---|---|
| B | 53 | 53 | 60 | 81.3 | 88.5 | 99.5 | 110.5 | 131 | 159 | 220 |
| D | 7.5 | 7.5 | 12 | 14 | 16 | 18 | 18 | 23 | 24 | 30 |
| L | 36 | 36 | 43 | 51 | 52 | 59 | 64 | 65 | 70 | 85 |










